开云网页版登录

宁波除尘系统 宁波脱硫系统 宁波气力输送系统 宁波控制系统系列 宁波产品 P产品展示PRODUCT
您当前所在的位置:网站开云网页版登录 > 宁波产品

宁波AB型进料阀

作者:常州市昊达电力设备有限公司    发布时间:2019-10-10 17:51:22    浏览量:7947

气动出料阀 拷贝.jpg进料阀2 拷贝.jpg


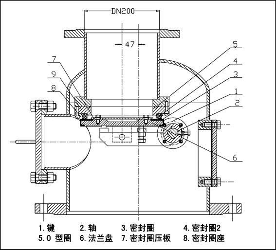
AB型进料阀通常有下列几部分组成:

进料装置(其结构形式见图)

进料阀设置于发送器顶部,用于发送器的进料进行控制。其工作原理是由外部气缸带动轴作90°回转,从而带动法兰盘,当法兰盘向上时,即关闭进料阀;当法兰盘向下时,即打开进料阀。密封是依靠固定在阀体上密封圈(1)和固定在法兰盘上密封圈(2)的紧密接触为实现的。


外形尺寸图

image042.png


相关标签 产品
在线询盘
公司名称: *
联系人: *
联系电话: *
电子邮箱:
联系地址:
需求内容: *